해양생물이 선박을 비롯한 플랜트나 기타 해양 시설물의 표면에 부착되지 않도록 함은 물론, 부착된 해양생물을 용이하게 제거할 수 있는 해수전지 를 이용한 해양생물 부착 방지장치에 관
| 특허명 | 특허출원번호 | 출원일자 | |||
|---|---|---|---|---|---|
| 특허명 | 해수전지 부착생물 방지를 위한 전기충격 장치 | 특허출원번호 | 10-2017-0140454 | 출원일자 | 2017-10-26 |
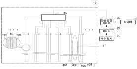
본 발명은 해수전지를 이용한 해양생물 부착 방지장치에 관한 것으로, 해수전지로부터 발생된 전기 에너지를 바닷물에 노출되는 선박이나 플랜트 및 기타 해양 시설물 등의 표면에 공급하여 전기 충격을 발생시킴으로써해양생물이 선박을 비롯한 플랜트나 기타 해양 시설물의 표면에 부착되지 않도록 함은 물론, 부착된 해양생물을 용이하게 제거할 수 있는 해수전지를 이용한 해양생물 부착 방지장치에 관한 기술임
종래에도 선박을 건조하는 과정에서 해양생물이 부착되는 것을 방지하기 위하여, 선체의 외측면으로 방오용 도료나 물질 등을 코팅하는 방법이 사용되고 있기는 하나, 이는 선체로 달라붙는 것을 원천적으로 방지하기에는 무리가 있을 뿐만 아니라, 방오 도료나 물질 등은 선박이 운항시 발생하는 해수의 흐름을 이용하여 폴링을 방지하도록 설계된 것이므로 계류 중인 선박에 적용하기에는 적합하지 않은 단점이 있음
해수전지로부터 발생된 전기 에너지를 배터리에 저장하고, 저장된 전원을 바닷물에 노출되는 선박이나 플랜트 및 기타 해양 시설물 등의 표면에 설치되는 음극부재 및 양극부재에 공급하여 전기 충격을 발생시킬 수 있고, 이에 따라 미세한 전류에도 민감한 반응을 일으키는 해양생물 등이 선박을 비롯한 플랜트나 기타 해양 시설물의 표면에서 탈락될 수 있을 뿐만 아니라, 부착된 해양생물이 전기자극에 의해 스스로 다른 곳으로 이동하게 됨
해수전지로부터 발생된 전기 에너지를 바닷물에 노출되는 선박이나 플랜트 및 기타 해양 시설물 등의 표면에 공급하여 전기 충격(전기 자극이 발생하도록 미세전류를 흐르게 하는 등)을 발생시킴으로써, 해양생물이 선박을 비롯한 플랜트나 기타 해양 시설물의 표면에 부착되지 않도록 함은 물론, 부착된 해양생물이 전기자극에 의해 스스로 다른 곳으로 이동하도록 함
선박 부착생물 관련 기술의 활용 분야로는 대표적인 기술로는 화학 약품을 사용한 제거, 물리적 방법을 사용한 제거, 생물학적 방법을 사용한 제거 등의 방법으로 나뉘어지며, 구체적으로는 부착생물 제거 기술 및 제품 시장으로의활용, 부착생물 모니터링 및 예측 기술 시장으로의 활용, 부착생물 방지 기술 시장으로의 활용 등이 있음

[선체 자동 청소 로봇]
부착생물 방지 기술 시장은 해운 수요 증가에 의한 선박의 수가 증가하며 선박 부착생물로 인한 문제의 증가, 환경 규제 강화에 의한 부착생물 방지 기술의 필요성 증가, 부착생물 방지 기술의 발전 등의 요인에 기인하여 지속적으로 성장할 것으로 예측됨
전 세계 선박 부착생물 방지 관련 시장 규모는 2023년 약10억 달러로 추산되며, 연평균 6.8%의 성장률을 기록하여 2028년에는 15억 달러에 이를 것으로 전망됨
[전세계 부착생물 방지 기술 시장 규모 및 전망]
출처: “글로벌 부착생물 방지 기술 시장“. Reportlinker