퇴적물 시료의 유실을 방지하고 용이하게 비커에 걸러낼 수 있는 시료 유실 방지 구조
| 특허명 | 특허출원번호 | 출원일자 | |||
|---|---|---|---|---|---|
| 특허명 | 시료 유실 방지 구조를 갖는 퇴적물 입자 분리 장치 | 특허출원번호 | 10-2020-0054975 | 출원일자 | 2020.05.08. |
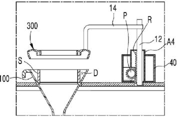
본 발명은 퇴적물 시료의 입자를 크기별로 분리하기 위해 채취한 퇴적물을 체 고정 부재에 안착되어 있는 표준체로 통과시키는 단순 구조로 퇴적물 시료의 유실을방지하고 용이하게 비커에 걸러낼 수 있는 시료 유실 방지 구조를 갖는 퇴적물 입자 분리 장치에 관한 기술임
종래 기술의 기구는 시료가 담긴 체를 상하좌우로 흔들어 진동을 줄 수 있기 때문에 퇴적물 시료의 입도별 분리가 가능할 수 있었음. 그러나 이러한 구조는, 진동 시 시료가 체 밖으로 유실될 수 있는 문제가 있어, 입자들을 일정한 크기별로 분리하고 질량을 측정하여 퇴적물 입자의 분포 비율로 입자의 크기를 구할 때 오차가 발생하는 문제가 있음
본 발명은 퇴적물 시료의 입자를 크기별로 분기하기 위한 것으로, 상단의 주입구보다 좁은 배출구가 하단부에 형성되어 프레임의 상부에 구비된 제1 플레이트를 관통하여 설치되는 체 고정 부재; 상기 체 고정 부재의 상부에 안착되는 표준체; 및 상기 체 고정 부재의 아래에 위치하도록 상기 프레임의 하부에마련되는 제2 플레이트에 설치되어 상기 표준체에 의해 분리된 퇴적물을 수용하기 위한 수용 부재가 안착되는 안착부를 포함하고, 채취한 상기 퇴적물을 상기 표준체로 통과시켜 걸러진 입자가 상기 수용 부재로 배출됨
체 고정 부재와 표준체 사이의 이격 공간을 막는 가림막이 구성됨으로써, 분리 전 퇴적물을 표준체에 쏟을 때 이격 공간으로 들어가 이미 분리된 퇴적물을 오염시키는 것을 방지 가능
분리 전 퇴적물이 목적지인 수용 부재에 도달하지 않고 외부로 유실되는 것을 방지
본 발명은, 해양 표층 시료 채취, 심해 시료 채취, 해양 환경 모니터링, 해양 과항 연구, 해양 산업 등에 활용 가능함
해상시료 채취기로 해양의 플랑크톤과 어류의 분포 조사에 활용 가능
해저의 지질학적 특성 및 해양의 온도 변화 측정에 활용가능

전 세계 해양정보 시장 규모는 2023년 기준 1,230억 달러이며 연평균 성장률 10.53%로 성장하여 2028년에는 2,029억1만 달러의 규모로 성장할 것으로 예상됨
해운, 조선, 석유 및 가스, 해양 관광 등 다양한 해양 산업의 발전으로 인해 해양 정보에 대한 수요가 증가하고 있음
또한, 기후 변화, 해양 쓰리게 등 해양 환경 문제에 대한 관심이 증가함에 따라 해양 환경 보호를 위한 해양 정보에 대한 수요가 증가하고 있음
[글로벌 해양정보 시장규모 및 전망]
출처:‘해양정보 시장 규모 분석 및 성장 보고서 2035’, Orbis Research