수중에서 공기와 코팅액을 분사하여 피도물을 코팅하는데 사용되는 다 중분사노즐과, 이를 이용하여 수중에서 피도물을 코팅하는 방법에 관한 기술
| 특허명 | 특허출원번호 | 출원일자 | |||
|---|---|---|---|---|---|
| 특허명 | 수중코팅용 다중분사노즐 및 이를 이용한 수중 피도물 코팅방법 | 특허출원번호 | 10-2018-0129553 | 출원일자 | 2018.10.29 |
본 발명은 수중에서 공기와 코팅액을 분사하여 피도물을 코팅하는데 사용되는 다중분사노즐과, 이를 이용하여 수중에서 피도물을 코팅하는 방법에 관한 기술임
종래기술은 중공형 챔버에 부착되는 중공형 튜브를 통해 액체가 유동되며, 액체가 중공형 튜브에 대향하여 부착되는 평판과 도포 패드를 통해 피도물의 표면에 접촉된 상태로 액체를 도포하는 방식을 이용함
그러나, 수중에서 물과 접촉되어 도포가 이루어짐에 따라 도료의 손실률이 높고 도료가 물과 접촉하여 비산됨에 따라 작업자의 시야를 흐리게 하여 원활한작업을 기대하기 어려운 문제점이 있음
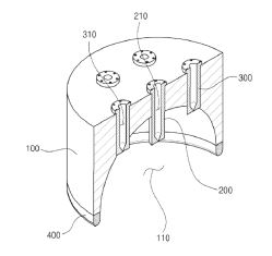
본 발명에 따른 수중코팅용 다중분사노즐은 일측면이 내측으로 함입된 형상의 하우징이 형성되도록 구비된 몸체, 몸체를 관통하도록 구비되며 하우징의 내면으로부터 돌출된 코팅분사구 및 몸체를 관통하도록 구비되며 하우징의 내면으로부터 돌출되고 코팅분사구와 이격 배치된 공기분사구;를 포함하고, 코팅분사구 및 공기분사구의 단부는 하우징의 내부에 위치됨
피도물의 국부적인 코팅에 있어서 하우징의 내부에 존재하는 물을 외부로 배출하여 코팅액의 수중비산을 방지하는 동시에 피도물에 접착성을 증대시킬 수 있음
수중에서 코팅 또는 보수작업을 요하는 해양콘크리트 구조물, 선박, 해양플랜트 등에서 코팅 및 유지보수를 위해 활용 가능함

[수중코팅장치]
전 세계 조선산업 시장규모는 2023년 기준 2,500달러로 추정되며, 연평균 성장률 2%로 성장하여 2028년에는 2,760억 달러의 규모를 형성할 것으로 예상됨
신흥국의 경제 성장으로 인한 물동량 증가 및 친환경 선박으 개발로 인한 선박 교체 수요로 시장규모가 성장할 것으로 예상됨
한국의 경우 한국형 친환경 선박(Greenship-K)의 건조 비중을 50%까지 확대하는 목표를 세우고 있어 국내 조선산업도 성장할 것으로 예상됨
[글로벌 조선산업 시장규모 및 전망]
출처:‘조선시장:성장, 동향, COVID-19의 영향,예측(2023-2028)’,Global Information