본 기술은 해일 또는 파랑 발생 시 부력에 의해 자동으로 회전하여 용이하게 침수를 방지 할 수 있고, 월파량을 크게 저감시킬 수 있으며, 안정적인 구조로 구성되는 자가 회전식 해일 및 파랑 방호벽에 관한 것임
일반적으로, 제방이라 함은, 하천이나 해안, 호수나 늪의 물을 일정한 높이와 너비로 막아 홍수로 인한 범람을 방지하고, 폭풍해일이나, 파랑으로 인한 월파로부터 보호하기 위해 토사, 잔디, 돌, 콘크리트 등을 쌓아 올린 토목구조물을 의미함
가장 대표적인 콘크리트 제방은 설계 시, 그 지점의 범람 때의 수위를 파악하고, 거기에 0.5∼2m의 여유를 더하여 제방 높이로 정하며, 이에 다시 장래의 지반이나 제방의 침해를 고려하여 여유를 더 두면서 설치함
그러나, 상기 콘크리트 제방은 해안가 등의 주변의 미관을 해칠 뿐만 아니라, 제방의 안쪽인 제내지에서 제방의 바깥인 제외지를 볼 수 없도록 가로막혀 있으므로 답답하게 느껴지는 단점이 있음
- 보다 간단한 구성 및 저렴한 비용으로 용이하게 시공 가능한 효과가 있음
- 월파를 보다 효율적으로 저감시킬 수 있는 효과가 있음
- 방호부재의 구조적 안정을 보다 기대할 수 있는 효과가 있음
- 다양한 환경에서도 방호부재가 정확하게 작동되어 월파를 방지할 수 있음
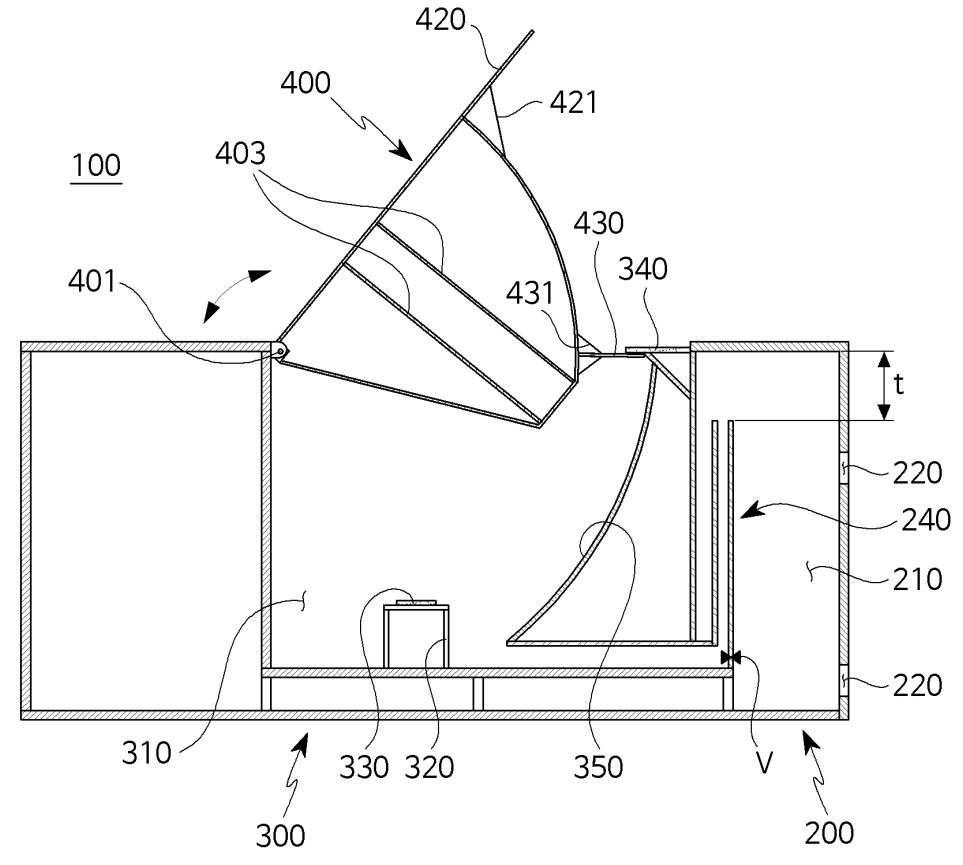
방호부재가 부력에 의해 자동으로 회전하면서 기립되도록 한 구성을 통해 용이하게 침수를 방지할 수 있음
방호부재의 형상을 물과의 접촉충격을 감쇄시키기 용이한 구조로 설계하여 보다 효율적으로 월파를 방지할 수 있는 것과 동시에 방호부재가 받는 충격을 분산시킬 수 있음
해일 또는 파랑이 발생할 수 있는 지역에 제방을 정비함으로써 홍수로부터 주택, 농경지, 산업시설 등을 보호할 수 있음
전세계 홍수 방호벽 시장 규모는 2021년 6억 7,937만 달러로 추산되었으며, 연평균 성장률 11.61%로 성장하여 2027년에는 13억 1,306만 달러에 이를 것으로 전망됨 (출처 : marketwatch)
전세계 홍수 방호벽 시장을 이끄는 주요 기업으로는 IBS Technics GmbH, FloodBreak, The Flood Company, 및 PS Industries 등이 있음 (출처 : newschannelnebraska)
