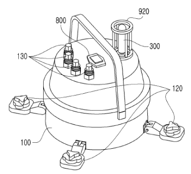
본 발명은 사고 선박에서 발생 가능한 구조 신호를 원격으로 측정함에 있어 측정 품질을 개선할 수 있는 선체 부착형 청음 시스템에 관한 것임
해상사고가 발생하여 전복선박 및 침몰선박의 수색 시 사고발생 지역을 육안으로 수색하거나, 각종 탐지기 등을 이용하여 수신되는 신호의 변화를 감지하여 수색하고 있으나, 이 방법은 수색할 수 있는 범위가 수백 미터인 짧은 탐색 범위 및 운용 속도 한계로 인하여 많은 인력과 수색작업시간이 필요함. 그리고 재난 현장에서 사용하는 구조장비 및 기술이 우리나라 해역의 극한환경을 극복하기엔 한계가 있어 실종자 실종시간이 장시간 경과되고, 수색범위가 확대될 수 있음
효율적인 구조작업을 위해서는 수중구조인력이 외부의 구조 선박 등과 상호교신을 통해 구조상황을 보고하고 대응해야 함
실제 침몰사고 구조 환경은 수중 잡음 때문에 수중 통신 품질이 좋지 않고, 전복사고의 경우, 해상에 선체가 드러나 있기 때문에 침몰사건과 통신 방식을 달리하여 적용할 필요가 있음
선박 사고 발생시 초동대응능력을 향상시키기 위하여 전복사고와 침몰사고로 구별할 수 있도록 다양한 구조신호 전달 수단을 제공할 수 있음
사고 선박에서 발생한 구조신호를 측정함에 있어 외부 소음을 차단 및 노이즈캔슬링하여 측정 품질이 개선됨
해양 사고시 구조작업을 위한 구조신호 측정 작업을 외부에서 실시간으로 제어할 수 있음

사고 선박에서 발생 가능한 구조 신호를 원격으로 측정함에 있어 측정 품질을 개선할 수 있음
해상 선박사고를 비롯한 다양한 조난신호 송수신 분야에 활용 가능함

2021년 선박사고는 총 3,882척이 발생했으며, 그로인한 발생인원은 20,174명이었음, 이중 구조된 선박은 3,779척, 구조된 인원은20,108명이며, 구조불능 선박은 103척(완전 침몰, 화재 전소) 인명피해(사망, 실종)는 66명이 발생함
선박사고는 전년('20년, 3,778척) 대비 2.8%(104척)증가하였으며, 인명피해는 전년 70명에서 올해 66명으로 5.7%(4명) 감소하였음 (출처 : e-나라지표(http://www.index.go.kr/))
전세계 비상 무선송신 장비(Global Emergency Beacon Transmitter) 시장은 06.8%의 연평균 성장률로 성장하여 2026년에는 2억 7038만 달러에 이를 것으로 전망됨 (출처 : expertmarketresearch)
