본 기술은 해저면의 생태연구에 필요한 환경측정용 샘플이나 데이터를 수집하는 측정장치에 제공되어 표생생물 또는 내생 생물의 생태활동으로 발생하는 각종 가스성분이나 화학성분 및 각종 미생물의 종류 등에 대한 분석작업을 수행하는 데 사용되는 벤틱챔버에 관한 것임
일반적으로 연안해역의 해저면 생태에 관한 각종 연구는, 표생생물 또는 내생 생물의 생태활동 결과로 발생하는 각종 가스 성분이나 화학 성분 및 각종 미생물의 종류 등에 대한 분석작업을 기초로 하여 수행됨
종래의 샘플링장치를 해저면으로 1회 투입하여 획득할 수 있는 측정데이터와 해수샘플의 범위 및 그 다양성이 크게 줄어드는 문제점이 존재할 뿐만 아니라, 해당 측정데이터와 해수샘플을 이용한 분석작업의 정확도 및 그 연구결과의 신뢰도 역시 크게 저하됨. 이를 보완할 목적으로 샘플링장치를 해저면으로 투입 및 회수하는 작업을 수 회에 걸쳐 단순히 반복적으로 수행하는 것은 선박의 운항과 전문 인력이 요구되는 작업의 특성을 고려할 경우 극히 비효율적이고 비경제적인 문제점이 있음
- 해저면에서의 연속적인 저질층 측정작업이 가능한 효과를 제공함
- 측정데이터와 해수샘플을 이용한 분석작업의 정확도 및 그 연구결과의 신뢰도 역시 크게 향상시킬 수 있는 효과를 제공함
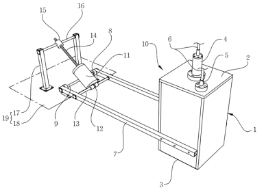
- 다양한 종류의 해저면 측정장치에 손쉽게 적용이 가능한 효율적이고 경제적인 방식의 현장배양 벤틱챔버를 제공함

해저면에서의 연속적인 저질층 측정작업이 가능토록 한 현장배양 벤틱챔버를 제공함
벤틱챔버에 의한 실질적인 측정작업과 채수작업 등을 수행하기 이전에 해저면의 저질층이 배양챔버에 의하여 불필요하게 긁히면서 교란되는 현상을 미연에 방지토록 한 현장배양 벤틱챔버를 제공함
연안해역의 해저면 생태에 관한 각종 연구에 활용 가능함

연안생태계는 하구역, 갯벌과 조하대, 연근해 생태계(천해대 상부)로 구분가능하며, 외양 생태계와 비교할 때 매우 다양한 해양 생물종이 서식하고 있을뿐 아니라, 연안에서 유입되는 영양 물질의 공급이 활발한 관계로 생산성을 유지하고 있음
해양생태계는 해양 생물과 그 생물이 서식하는 주변 환경을 모두 포함하는 개념으로 여러가지 유용한 자원과 서비스를 제공함 (출처 : 국토환경정보센터(https://www.neins.go.kr/))
"해양 빅데이터"라는 용어는 바다, 연안 지역 및 오대호에서 수집되거나 이에 대해 수집되는 방대하고 확장되는 정보를 의미함
해양 빅데이터 시장은 2021년 7억 8,530달러에서 매년 11.35%의 연평균 성장률로 성장하여 2029년에는 18억 5550만 달러에 이를 것으로 전망됨 (출처 : maximizemarketresearch)
