본 기술은 해양표층관측을 위하여 개발된 것으로, 조위에 따라 해수면이 변동되더라도 조위를 따라 상하로 이동하면서 해상에서 관측 장비를 지지하는 다종의 해양표층요소 획득을 위한 관측시스템에 관한 것임
부이(Buoy)는 해양의 해수면에 띄운 부체로 된 항로표지의 일종으로, 종래의 해양 관측용 부이는 부력을 가진 부유체로서의 일체형 몸체가 파손될 경우 부이 및 부이에 설치된 고가의 계류장비들도 함께 파손 및 유실되는 문제점이 있음
자연 현상 및 항해하는 선박 등에 의해 배터리가 파손 및 방전될 수 있어 위치 추적이 어려울 수 있음
해양과학기지와 같은 해저 고정식 해양관측소에 해양관측장비를 부착하여 설치하는 경우, 조위에 따라 해양관측장비의 수심이 변동되는 문제가 있음
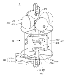
가이드 유닛, 부력유닛, 관측유닛, 보호유닛으로 구성되어, 가이드 유닛의 파이프 관은 와이어로프를 감싸며, 부력유닛은 가이드 유닛 최상단에 구비되어 부유력을 제공할 수 있음
와이어로프와 파이프 관 사이에는 MC재질의 보호 롤러가 설치되어 조위와 파도에 의해 지속적으로 움직이더라도 와이어로프 대신 보호 롤러가 닳도록 하여 와이어로프를 보호할 수 있음
보호 롤러는 마모시 정기적으로 교체 사용가능하고, 보조 프레임은 메인 프레임에 부착될 수 있도록 하며, 관측 장비의 크기에 따라 조절이 가능함

관측 장비를 해상에 부유시키는 와이어로프를 파도에 의한 마찰로부터 보호하는 기능이 구비된 관측시스템을 제공함
와이어로프를 보호하는 소모품의 교체사용을 통해 지속적인 보호가 가능한 기능이 구비된 다종의 해양표층요소 획득을 위한 관측시스템을 제공함
선박의 항해 예측 등 해양표층관측이 필요한 분야에 활용 가능함

세계 해양 선박 시장은 2021년 1,707억 5,000만 달러에서 연평균 성장률 1.43%로 2028년 1,885억 7,000만 달러로 성장할 것으로 전망됨
해양 선박의 수요는 국제 무역과 직접적인 관련이 있음. 코로나19의 대유행으로 인해 해양 무역이 크게 감소하였으나, 대유행의 해소에 따라 추후 해양 선박의 수요가 다시 증가할 것으로 예상됨 (출처 : fortunebusinessinsights)
