본 기술은 해양관측플랫폼에서 해양관측 및 해양샘플 수집 시 이동이 가능한 윈치를 활용함으로써 해양관측의 효율성을 높이는 해양관측을 위한 이동형 윈치에 관한 것임
윈치는 권양기라고도 불리는 것으로, 원통형 드럼에 와이어로프를 감아 중량물을 높은 곳으로 들어올리거나 끌어당기는 기계를 말함
종래의 휴대용 윈치는 대부분 수동을 이용하여 중량물을 들어 올리는데, 인력을 사용하기 때문에 인양력이 한정될 뿐만 아니라, 보조인력이 필요하며, 중량물이 사고로 낙하하게 되면 생명이 위협받는 상황에 처하게 되는 단점이 있음
소수의 인원으로도 해양관측을 수행할 수 있으며, 인원의 피로감과 작업 소요시간을 획기적으로 줄여주어 해양관측의 효율성을 높일 수 있음
전원공급 부재로부터 전력을 얻기 때문에 전력선이 닿지 않는 위치에서도 자유롭게 해양관측수행이 가능하며, 폐달 스위치는 한 발만 가지고도 윈치 제어를 가능하게 하여 관측자가 두 손으로 해양관측과 관련된 다양한 작업을 원활히 할 수 있도록 함
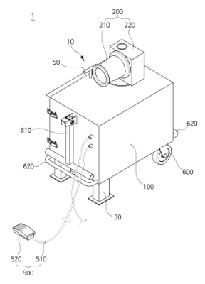
윈치 내부의 배전반으로부터 케이블을 통해 빼 내어 관측자가 사용하기 좋은 위치에 두고 발만으로 윈치의 작동을 제어할 수 있는 기능이 구비된 해양관측을 위한 이동형 윈치를 제공함
윈치의 외부에는 이동을 용이하게 하기 위한 기능이 구비되어 있으며, 윈치 작동시 안정성을 확보하기 위한 기능 그리고 해양관측을 잠시 멈추어야 하는 경우에 관측 장비를 매어 두기 위한 로프를 고정하는 기능이 구비된 해양관측을 위한 이동형 윈치를 제공함

원통형 드럼에 와이어로프를 감아 중량물을 높은 곳으로 들어올리거나 끌어당기는 기계인 윈치를 사용하는 모든 분야(건설산업 등)에 활용 가능함

전세계 윈치 시장은 2021년에 15억 4070만 달러로 추산되었으며, 4.9%의 연평균 성장률로 성장하여 2031년에는 24억 7180만 달러에 이를 것으로 전망됨
건설과 같은 산업에서 윈치에 대한 수요 증가는 윈치시장을 주도하는 핵심요소임. 유엔 인구조사국(United Nations Census Bureau)에 따르면 세계 인구는2023년까지 80억에 이를 것으로 예상됨. 이것은 인구 밀도가 높은 도시를 건설하고 적절한 기반 시설과 연결하는 것을 수반함. 한편, 개발도상국의 급격한 경제성장으로 건설수요가 증가하고 있음. 이는 윈치의 수요 증가로 이어질 것으로 생각됨 (출처 : transparencymarketresearch)
