본 기술은 고고도로 수직 상승 및 하강 비행하여 고고도에서 미세먼지를 포함한 기상 등의 환경을 측정 및 관측할 수 있는 고고도 수직 무인 비행체에 관한 것임
무인비행체는 군사용, 화재 및 재난구조용, 촬영용 등 다양한 분야에서 이용되고 있음
종래기술에 의한 무인 비행체는 회전익이 모두 외부로 노출됨으로써 바람의 영향을 받아 고고도로의 비행이 곤란한 문제점이 있었고, 이러한 문제점으로 인하여 고고도 상공의 대기 측정이 곤란한 문제점이 있었음
- 지상에서 고고도로 수직 상승 및 하강 비행이 가능하게 함
- 바람의 영향이 최소화 된 상태로 안정적으로 수직 상승 및 하강 비행할 수 있음
- 오염물질의 수직방향 분포를 파악은 물론 오염물질의 유입방향(유동방향)을 파악할 수 있음

지상에서 고고도로 수직 비행하되 바람의 영향이 최소화된 상태로 안정적으로 수직 상승 및 하강 비행할 수 있는 수단을 제공함
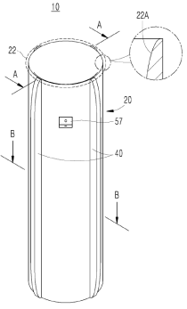
수직 비행체에 관측장비를 구비시켜 미세먼지를 포함한 오염물질의 유입 및 오염물질의 수직방향 분포를 파악할 수 있는 수단을 제공함
드론과 같은 무인 비행체를 사용해 사진을 촬영하고 위치 정보를 확인하는 분야에 활용 가능함
무인 비행체(Unmanned Air Vehicle, UAV) 시장은 2022년 262억 달러에서 연평균 7.9% 성장하여 2027년에는 383억 달러에 이를 것으로 전망됨
무인 비행체/드론에 사용되는 센서와 카메라는 필수적인 요소임. 센서와 카메라의 발달은 보다 개선된 무인 비행체/드론의 개발을 가속화할 것임
이에 반해 안전성과 보안 이슈는 무인 비행체/드론 시장 확대의 제한 요소임 (출처 : marketsandmarkets)
