본 기술은 해수전지로 공급되는 해수로부터 이물을 제거하는 해수전지용 해수 정화장치에 관한 것임
해수전지는 화학 에너지를 전기 에너지로 변환시키는 화학전지에 속하는 것으로, 바닷물 속의 나트륨이온을 이용해서 충전과 방전이 가능하도록 한 것임
해수전지는 바닷물에 떠다니는 해양기원 유기물과 해양 부착생물 유생, 즉 홍합, 따개비, 바닷말 등의 유생(또는 포자)이 해수전지의 표면에 부착되어 바닷물의 이동을 방해하거나 물리적으로 손상시키는 문제점이 있음
특히, 해수전지의 표면에 해양 부착생물이 부착되는 경우에 전기 에너지의 저장 및 생산 효율이 저하되는 문제점이 있음. 따라서 해수전지로 공급되는 해수로부터 이물을 제거하는 장치가 요구됨
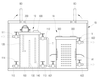
세로격벽의 하부에서 제2 흐름경로쪽으로 연장된 가로격벽이 해양생물 등 이물의 침전을 유도함으로써, 해수에 있는 해양생물 등 이물의 침적에 의한 여과효율이 향상되도록 이루어지는 해수전지용 해수정화장치를 제공함
제3 격벽보다 해수의 수면이 높아지면, 이동벽이 부력체에 의해 상승하면서 제1 관통홀과 제2 관통홀이 연결됨으로써, 지속적인 배수 과정으로 침적된 이물 및 해양생물에 의해 해수의 흐름이 막히지 않도록 이루어지는 해수전지용 해수 정화장치를 제공함

본 기술은 별도의 전원을 공급받지 않고 해수에 있는 해양생물 및 이물의 여과효율이 향상되고, 침적된 이물 및 해양생물에 의해 해수의 흐름이 막히지 않도록 이루어지는 해수전지용 해수 정화장치를 제공함

신재생에너지를 이용한 전류 공급 등의 분야에 활용할 수 있음
전세계 해수전지 시장 규모는 2021년에 400만 달러로 추산되었으며, 연평균 성장률 37.1%로 성장하여2028년에는 3,600만 달러에 이를 것으로 전망됨
무한한 자원이라는 점이 시장에서의 요구를 충족하고 시장 성장을 촉진하는 주요 동인임
북미가 기술적 발달을 이끌어가고 있는 주요 시장임 (출처 : businessresearchinsights)