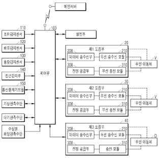
본 기술은 해양환경관측을 위한 무인 이동체와의 데이터 송수신, 전력 공급을 통한 충전과 관리 등이 이루어질 수 있고, 기상관측, 대기관측, 수심별 해양환경관측, 무인체와의 데이터 송수신을 위한 무선통신 및 수중통신이 가능하며 필요시 중계기 등의 기능을 수행할 수 있는 해양관측 무인 이동체용 스마트 스테이션 시스템에 관한 것임
일반적으로 해양환경 조사는 전문지식을 갖춘 인력이 조사선에 탑승하여 관측장비를 이용하여 수온, 염분, 해저 지형 등의 해양환경자료를 획득하거나, 비행체 또는 인공위성에 장착된 광학장비 등을 이용하여 해양환경자료를 획득하는 방식임
그러나 전문지식을 갖춘 기술인력이 직접 조사하기에는 많은 시간이소요되고 조사할 해역이 매우 넓으며, 해상은 기후변화가 심하여 위험요소가 많아 정작 필요한 시기에 필요한 조사 및 관측을 하기 어려운 경우가 많음. 또한 해상의 급속한 기상변화 등에 의하여 실시간으로 연속적인 관측이 매우 어려움
해양에 설치되는 구조물에 해저면, 수중 및 공중으로 무인 운행하는 무인 이동체들이 도킹할 수 있는 수단을 제공함으로써, 무인 이동체가 획득한 해양환경 관측 정보를 수신할 수 있고, 도킹한 무인 이동체에 전력을 공급하여 추가 운행을 가능하게 할 수 있는 효과를 제공함

본 기술에 따른 해양관측 무인 이동체용 스마트 스테이션 시스템은 해양환경관측을 위한 무인 이동체가 수중 및 수상에서 도킹하고 공중으로부터 이착륙할 수 있도록 함으로써, 무선 데이터 송수신을 통하여 무인 이동체가 획득한 데이터를 얻을 수 있고, 도킹한 무인 이동체에 전력을 공급하여 배터리를 충전할 수 있음
수중 무선 통신, 무선 데이터 송수신 분야에 활용 가능함

국내 무선 통신 시장은 2014년에 24조 9148억 원에서 2019년 24억 755억 원으로 일정한 규모를 유지하고 있음
(출처 : e-나라지표(http://www.index.go.kr/))
전세계 수중무선통신 시장 규모는 2021년 8억 8,335만 달러에서 8.04%의 연평균성장률로 성장하여 2028년에는 14억 6,943만 달러에 달할 것으로 전망됨
전세계 수중무선통신 시장을 이끄는 기업으로는 KONSBERG GRUPPEN, SAAB AB, TELEDYNE TECHNOLOGIES, ULTRA ELECTRONICS MARITIME SYSTEMS, FUGRO, NORTEK AS 등이 있음 (출처 : QYResearch)
